Navigation
Detail
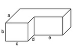
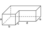
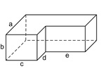
Zusammengesetzter Körper
Urheber:
CJU, CC0
Bildnummer:
P11777
Auflösung:
500x400
Format:
PNG
Quelle:
https://www.schulportal-thueringen.de/pixiothek/detail?tspi=P11777
Kurzbeschreibung:
Das Bild gehört zur Serie "Geometrie Körper". Es zeigt einen aus zwei Quadern zusammengesetzten Körper. Bei Vorgabe von Maßangaben für die bezeichneten Seiten kann das Gesamtvolumen berechnet werden. Das Bild ist unter CC0 lizenziert und kann somit frei verwendet werden.
Verwandte Bilder (Auswahl)
Quader mit Bohrung
(800x450)
Zusammengesetzter Körper
(500x400)
Quader
(1250x850)
Zusammengesetzter Körper
(600x400)
Quader mit Bohrung
(800x450)
Quader
(1250x820)
Zusammengesetzter Körper
(600x400)
Quader
(895x696)
Zusammengesetzter Körper
(600x399)
Zusammengesetzter Körper
(600x400)
Verwandte Medien (Auswahl)
Es wurden aktuell keine verwandten Medien gefunden.