Navigation
Detail
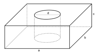
Quader mit Bohrung
Urheber:
CJU, CC0
Bildnummer:
P11787
Auflösung:
800x450
Format:
PNG
Quelle:
https://www.schulportal-thueringen.de/pixiothek/detail?tspi=P11787
Kurzbeschreibung:
Das Bild gehört zur Serie "Geometrie Körper". Es zeigt eine kreisrunde Bohrung, die vollständig durch den Quader verläuft. Bei Vorgabe von Maßangaben für die bezeichneten Seiten kann das Volumen des Körpers berechnet werden. Das Bild ist unter CC0 lizenziert und kann somit frei verwendet werden.
Verwandte Bilder (Auswahl)
Quader mit zwei Bohrungen
(800x400)
Kreiszylinder, Körpernetz
(1050x1000)
Kreiszylinder
(850x1050)
Quader mit zwei Bohrungen
(800x400)
Quader mit Bohrung
(800x450)
Quader mit zwei Bohrungen
(800x400)
Quader mit Bohrung
(800x450)
Quader mit zwei Bohrungen
(800x400)
Quader mit Bohrung
(800x450)
Verwandte Medien (Auswahl)
Es wurden aktuell keine verwandten Medien gefunden.